911色I原创真实夫妻啪啪avI91精品国I奇米色在线I涩涩爱影院Iwww.五月天激情Iav天天堂I白丝avI在线看的黄色网址I亚洲综合在线色I国产尤物视频在线I在线xxxxI久久婷亚洲五月一区天天躁I草久久I极品少妇一区I国产又粗又长免费视频I欧美三级黄I一本久久久I一区在线观看I在线国产区

配件供應中心珀金斯Perkins 柴油發動機T400950渦輪增壓器、T400304啟動馬達、T400726噴油器、CH1_珀金斯發動機配件_配件供應中心_產品中心_廈門永新昌機械設備有限公司
珀金斯Perkins 柴油發動機T400950渦輪增壓器、T400304啟動馬達、T400726噴油器、CH1

珀金斯Perkins 柴油發動機T400950渦輪增壓器、T400304啟動馬達、T400726噴油器、CH1_珀金斯發動機配件_配件供應中心_產品中心_廈門永新昌機械設備有限公司

當前分類:配件供應中心關鍵詞
產品信息

Perkins柴油發動機T400950渦輪增壓器、T400304啟動馬達、T400726噴油器、CH11087充電發電機   1506A

項目 零配件號碼 最近的部分號碼 描述

1 T400950 1 T400950 渦輪增壓器

(1) T400950R 1 T400950R 渦輪增壓器 -交換

5 T400948 1 T400948 密合墊 -渦輪增壓器

6 CH11242 4 CH11242 鎖緊螺母

項目 零配件號碼 最近的部分號碼 描述

1 T400304 1 T400304 啟動馬達

2 T400722 1 T400722 地球帶

3 T400720 2 T400720 螺拴

4 T400724 2 T400724 墊圈

5 T400720 1 T400720 螺拴

6 T400721 1 T400721 接線夾

7 T400723 1 T400723 墊圈

8 CH10054 1 CH10054 纜拉桿

項目 零配件號碼 最近的部分號碼 描述

1 T400548 1 T400548 惰輪皮帶輪

6 4590657 1 4590657 帶

6 T400553 1 T400553 帶

7 T400554 1 T400554 間隔器

8 T400555 2 T400555 螺旋

9 CH11815 1 CH11815 螺拴

10 CH10277 1 CH10277 墊圈

11 CH11565 1 CH11565 螺拴

12 CH10255 1 CH10255 墊圈

項目 零配件號碼 最近的部分號碼 描述

1 T400614 1 T400614 濾清器冒口

4 4587260 1 4587260 濾清器

4 T400618 1 T400618 濾清器

5 T400622 1 T400622 密合墊 - 濾清器的冒口

6 T400617 1 T400617 圖釘

7 CH11565 11 CH11565 螺拴

8 CH10277 12 CH10277 墊圈

9 T400429 1 T400429 栓塞

10 T400188 1 T400188 密封 - O 的圈

11 T400616 1 T400616 彈簧

12 3781 V021 1 3781 V021 氣門

13 T400429 1 T400429 栓塞

14 T400188 1 T400188 密封 - O 的圈

15 T400616 1 T400616 彈簧

16 3781 V021 1 3781 V021 氣門

17 T400619 1 T400619 承接器

18 T409314 1 T409314 密封 - O 的圈

19 T400620 1 T400620 肘管

20 CH11880 1 CH11880 密封 - O 的圈

21 T400621 1 T400621 停機氣門

23 2658 A101 1 2658 A101 帽

項目 零配件號碼 最近的部分號碼 描述

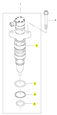
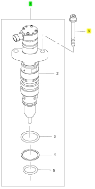
1 T400726 6 T400726 噴油器

(1) T400726R 6 T400726R 噴油器 -交換

6 CH11837 12 CH11837 公制的螺拴

項目 零配件號碼 最近的部分號碼 描述

2 1 噴油器

3 T400940 2 T400940 密封 -噴油器

4 T400941 1 T400941 圈

5 T400942 1 T400942 密封 -噴油器

項目 零配件號碼 最近的部分號碼 描述

1 CH11087 1 CH11087 充電發電機

(1) 半徑/CH11087 1 半徑/CH11087 交換充電發電機

項目 零配件號碼 最近的部分號碼 描述

1 T400904 1 T400904 充電發電機皮帶輪

2 T400676 1 T400676 充電發電機托架

3 T400672 1 T400672 螺拴

4 CH11604 1 CH11604 墊圈

5 T400673 1 T400673 螺拴

6 CH11604 2 CH11604 墊圈

7 2238155 1 2238155 螺帽

8 CH12124 1 CH12124 螺拴

9 T400675 1 T400675 間隔器

10 ST43558 2 ST43558I 螺拴

11 T400674 2 T400674 套筒

12 T400681 2 T400681 套筒

13 T401872 1 T401872 桿

13 T400678 1 T400678 桿

14 T406503 1 T406503 螺拴

15 CH10099 1 CH10099 墊圈

16 T400677 1 T400677 間隔器

17 T400679 1 T400679 間隔器

18 T400671 1 T400671 螺拴

19 T400680 1 T400680 間隔器

20 CH11604 1 CH11604 墊圈

21 T400670 2 T400670 螺帽

22 CH10099 2 CH10099 墊圈

項目 零配件號碼 最近的部分號碼 描述

1 T401007 1 T401007 散熱器

項目 零配件號碼 最近的部分號碼 描述

1 T400970 1 T400970 風扇

2 CH11895 6 CH11895 螺拴

3 CH10255 6 CH10255 墊圈

購買配件須知:

1、購買前請確認零部件型號、技術參數、編碼、適用機型。因批次不同或存在零部件差異,請以實物為準。

2、為選購正確的零部件,可以通過對比現場零部件和本網站所展示的是否一致,來確保購買到準確的零部件。

3、本網站目前暫未上架全部機型的零部件,如在網站中未查詢到的零部件,請聯系我們。