911色I原创真实夫妻啪啪avI91精品国I奇米色在线I涩涩爱影院Iwww.五月天激情Iav天天堂I白丝avI在线看的黄色网址I亚洲综合在线色I国产尤物视频在线I在线xxxxI久久婷亚洲五月一区天天躁I草久久I极品少妇一区I国产又粗又长免费视频I欧美三级黄I一本久久久I一区在线观看I在线国产区

配件供應中心柴油機1206E配件銷售中心油底殼墊、T414441壓縮機、氣門、搖臂軸(1200)_珀金斯發動機配件_配件供應中心_產品中心_廈門永新昌機械設備有限公司
柴油機1206E配件銷售中心油底殼墊、T414441壓縮機、氣門、搖臂軸(1200)

柴油機1206E配件銷售中心油底殼墊、T414441壓縮機、氣門、搖臂軸(1200)_珀金斯發動機配件_配件供應中心_產品中心_廈門永新昌機械設備有限公司

當前分類:配件供應中心關鍵詞
產品信息

珀金斯柴油機1206E配件銷售中心油底殼墊、T414441壓縮機、氣門、搖臂軸、

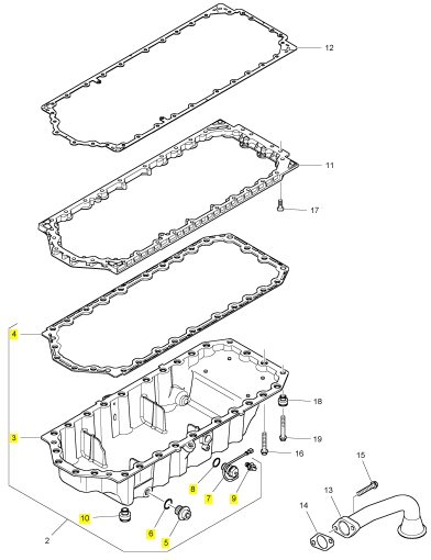
項目 零配件號碼 最近的部分號碼 描述

1 1 油底殼

12 3681 K044 1 3681 K044 密合墊 -油底殼

13 3575 A074 1 3575 A074 管 - 油的吸入

14 3683 H005 1 3683 H005 密合墊

15 2314 H004 2 2314 H004 螺旋

16 2314 H007 2 2314 H007 螺旋

17 2316 T052 6 2316 T052 螺旋

18 T407498 4 T407498 限制器

19 2314 K161 28 2314 K161 螺旋

項目 零配件號碼 最近的部分號碼 描述

2 T405964 1 T405964 油底殼

11 T406564 1 T406564 油底殼承接器

項目 零配件號碼 最近的部分號碼 描述

3 1 油底殼

4 3681 K041 1 3681 K041 密合墊 -油底殼

5 32186405 2 32186405 栓塞

6 T407088 2 T407088 密封 - O 的圈

7 T405544 1 T405544 開關

8 CH12137 1 CH12137 密封 - O 的圈

9 2817 A002 1 2817 A002 接線夾

10 T407498 26 T407498 限制器

項目 零配件號碼 最近的部分號碼 描述

1 T414441 1 T414441 壓縮機

2 2314 J603 2 2314 J603 螺旋

3 T417387 1 T417387 承接器

3 T405200 1 T417387 承接器

4 2413689 1 2413689 密封 - O 的圈

5 T405655 1 T405655 壓縮機傳動機構

6 2413689 1 2413689 密封 - O 的圈

7 T414253 1 T414253 栓塞

8 2313 N106 2 2313 N106 圖釘

9 T407579 2 T407579 螺帽

10 T409969 1 T409969 蓋

13 2314 J003 2 2314 J003 螺旋

14 T405962 1 T405962 托架

15 2314 J003 3 2314 J003 螺旋

16 2314 H004 1 2314 H004 螺旋

項目 零配件號碼 最近的部分號碼 描述

1 T406935 1 T406935 水管 -冷卻器

2 2481 B020 1 2481 B020 水管夾

3 2481 B020 1 2481 B020 水管夾

4 3355 A017 1 3355 A017 承接器

5 2411 D016 1 2411 D016 墊圈

6 T413075 1 T413075 水管 -冷卻器

7 2481 B020 1 2481 B020 水管夾

8 2481 B020 1 2481 B020 水管夾

9 3355 A017 1 3355 A017 承接器

10 2411 D016 1 2411 D016 墊圈

11 T410364 1 T410364 水管 -油

12 3355 E009 1 3355 E009 連接

13 2415 D053 1 2415 D053 墊圈

14 3218 R036 1 3218 R036 班卓琴螺拴

15 2411 D010 2 2411 D010 墊圈

項目 零配件號碼 最近的部分號碼 描述

1 T405925 1 T405925 搖桿組合

21 T406777 12 T406777 進氣門

22 T412573 12 T412573 密封 - 氣門轉桿

22 T407967 12 T407967 密封 - 氣門轉桿

23 T417519 12 T417519 氣門彈簧

23 3174 A026 12 T417519 氣門彈簧

24 T406809 12 T406809 承件

25 3142 W003 24 3142 W003 氣門筒夾

26 T407502 6 T407502 結橋塊

26 T406575 6 T407502 結橋塊

27 T405211 12 T405211 排氣氣門

28 T412573 12 T412573 密封 - 氣門轉桿

28 T407967 12 T407967 密封 - 氣門轉桿

29 T417713 12 T417713 氣門彈簧

29 3174 A028 12 T417713 氣門彈簧

30 T406809 12 T406809 承件

31 3142 W003 24 3142 W003 氣門筒夾

32 T407502 6 T407502 結橋塊

32 T406575 6 T407502 結橋塊

33 T416277 1 T416277 承件

項目 零配件號碼 最近的部分號碼 描述

2 T405681 1 T405681 搖臂軸組合

5 T406016 11 T406016 螺拴

6 2316 A901 1 2316 A901 螺旋

7 3174 A024 1 3174 A024 搖臂軸彈簧

8 2727 A015 1 2727 A015 CIRCLIP

9 T407095 5 T407095 搖臂軸彈簧

10 2727 A015 5 2727 A015 CIRCLIP

11 T407570 6 T407570 搖臂組合

16 T406261 6 T406261 搖臂組合

項目 零配件號碼 最近的部分號碼 描述

12 1 搖臂

13 T407571 1 T407571 搖臂氣門座圈

14 T406029 1 T406029 導入

15 1 碗

項目 零配件號碼 最近的部分號碼 描述

17 1 搖臂

18 T407571 1 T407571 搖臂氣門座圈

19 T406029 1 T406029 導入

20 1 碗

項目 零配件號碼 最近的部分號碼 描述

27 T407502 1 T407502 結橋塊

28 2 承件

35 T407502 1 T407502 結橋塊

36 2 承件

項目 零配件號碼 最近的部分號碼 描述

1 T408610 1 T408610 油填隙料

8 2314 H004 2 2314 H004 螺旋

9 T407228 1 T407228 板

10 3683 A022 1 3683 A022 密合墊

11 2314 H003 2 2314 H003 螺旋

購買配件須知:

1、購買前請確認零部件型號、技術參數、編碼、適用機型。因批次不同或存在零部件差異,請以實物為準。

2、為選購正確的零部件,可以通過對比現場零部件和本網站所展示的是否一致,來確保購買到準確的零部件。

3、本網站目前暫未上架全部機型的零部件,如在網站中未查詢到的零部件,請聯系我們。